Leichtathletik: Hürdenlauf (Büchner / Mayerhofer)
Tabs
Hürdenlauf
Bewegungsbeschreibung der Hürdenüberquerung: (Büchner)
Der Hürdenlauf gehört zu den koordinativ-technisch anspruchvollsten Disziplinen in der Leichhtathletik. Der fortwährende Wechsel zwischen zyklischen (Lauf) und azyklischen Bewegungen (Hürdenschritt) macht seine Komplexität aus.
Die Leistung im Hürdenlauf wird in technischer Hinsicht vor allem durch die Qualität der sich wiederholenden Hürdenüberquerung, die einen möglichst geringen Geschwindigkeitsverlust und einen harmonischen Übergang in den folgenden Zwischenhürdenlauf garantieren muss, limitiert.
Die Voraussetzung für einen geringen Geschwindigkeitsverlust bildet eine möglichst flache Flugkurve des Körperschwerpunktes über der Hürde. (Bauersfeld, 1992, S. 150/151)
Von der Ausführung des Hürdenschritts hängt also ab, wie flach bzw. wie schnell die Bewegung gestaltet werden kann.
Insgesamt lässt sich der Hürdenschritt bzw. die Hürdenüberquerung in 4 verschiedene Aktionsphasen unterteilen:
1. Amortisationsphase:
„Die Amortisationsphase beginnt mit dem ersten Bodenkontakt des Nachziehbeins vor der Hürde und endet mit dem Erreichen des Beugemaximums im Kniegelenk des Nachziehbeins” (Pankratz, 2004, S. 2).
Der Abstand zwischen der Hürde und dem Nachziehbein (= Abdruckbein) beträgt in der Weltklasse ca. 2,10 m – 2, 30 m. Das Sprunggelenk steht komplett unter Spannung, sodass die Ferse den Boden beim Fußaufsatz vor der Hürde nicht berührt. Bei einem lockeren Sprintstil ist dabei auch eine Anfersbewegung des locker schwingenden Schwungbeinunterschenkels an das Gesäß zu beobachten.
2. Abdruckphase:

„Die Abdruckphase beginnt mit dem Strecken des Nachziehbeins und endet mit dem Loslösen dieses Beines vom Boden” (Pankratz, 2004, S.2).
Währenddessen schwingt das Schwungbein mit stark gebeugtem Kniegelenk (ca. 70°) geradlinig nach vorne. Dabei wird der Oberschenkel bis in die Waagerechte angehoben, damit danach der Unterschenkel locker nach vorne geschleudert werden kann. Während des Abdrucks ist der Oberkörper nur leicht (ca. 7°) nach vorne gebeugt. Der Arm der Schwungbeinseite wird dabei neben dem Oberkörper eher passiv gehalten bzw. fixiert, während der andere weiter nach vorne strebt. Das Hüft- Knie- und Fußgelenk ist im Abdruckbein komplett gestreckt, was zu einer hohen Laufhaltung bzw. zu einer hohen KSP-Position führt. Der Winkel, den das Abdruckbein mit der Horizontalen einschließt beträgt idealerweise ca. 85°.
Der Abdruckpunkt liegt, je nach Athlet, ca. 2,20 Meter vor der Hürde. Das Verhältnis vom Absprungpunkt bzw. vom Landepunkt zur Hürde beträgt grob 2/3 zu 1/3.

3. Flugphase:
„Die Flugphase beginnt mit dem Verlassen des Bodens durch das Abdruckbein und endet mit dem ersten Bodenkontakt des Schwungbeines hinter der Hürde”
(Pankratz, 2004, S.3).

Zur genaueren Betrachtung dieses Bewegungsablaufen werden die Rumpf- und Beinbewegung bzw. die Arm- und Oberkörperbewegung im Folgenden separat behandelt.
Rumpf- und Beinbewegung:
Nachdem der Fußballen den Boden verlassen hat wird der Schwungbeinunterschenkel weiter nach vorne ausgeschleudert bis das Bein fast gestreckt ist, die Fußspitze ist angezogen. Diese annähernde Streckung des Beines wird über der Hürde reflektorisch kurz aufgelöst, bevor es, jetzt wieder fast gestreckt die Hürde komplett überquert. Sobald das Knie des Schwungbeines die Hürdenmitte überquert hat und die Abwärtsbewegung beginnt, setzt auch die gleichzeitige Scherbewegung ein: das Schwungbein drückt abwärts ("aktives Bodengreifen") das Nachziehbein wird horizontal und abgewinkelt über die Hürde geführt.

In der Landevorbereitung wird das Nachziehbein weiter nach vorne oben gezogen (bis auf Brusthöhe) während das Abdruckbein sich fast gestreckt weiter nach unten bewegt.

Der Fuß des Nachziehbeins ist angezogen und nach außen-oben gestellt um die Hürde nicht zu berühren und mit aktivem Fußeinsatz nach der Hürde weitersprinten zu können.
Arm- bzw. Oberkörperbewegung:
Der Gegenarm des Schwungbeines geht während und nach dem Abdruck aktiv nach vorne womit gleichzeitig die bekannte Duck- oder Tauchbewegung verbunden ist. Der Rumpf befindet sich jetzt in einer deutlichen Vorlage, sodass das Kinn vor dem Knie des Schwungbeines bleibt. Der Arm der Schwungbeinseite ist angewinkelt und sollte sich leicht in Vorhalte befinden.
Die Schulterachse soll bei diesen Bewegungen gerade bleiben, also quer zur Laufrichtung stehen.
Gleichzeitig mit der horizontalen Vorwärtsbewegung des Nachziehbeines wird der Arm der Nachziehbeinseite, zum Ausgleich der entstandenen Rotationsbewegung, bis hinter das Knie des Nachziehbeins zurückgeführt. Diese Bewegung wird durch den Ellbogen initiiert, keinesfalls über die Schulter (Parallelität der Achsen !).

Im gleichen Moment bewegt sich der Arm der Schwungbeinseite nach vorne, sodass beim ersten Bodenkontakt mit dem Schwungbein eine ökonomische, diagonal geführte Armbewegung gesichert ist. Der Blick ist während des Bewegungsablaufes auf das nächste Hindernis ausgerichtet.
4. Landephase:
„Die Landephase erstreckt sich vom ersten Bodenkontakt des Schwungbeins hinter der Hürde bis zum ersten Bodenkontakt des Nachziehbeins hinter der Hürde” (Pankratz, 2004, S. 4).
Der Athlet landet mit gestrecktem Bein federnd auf dem Fußballen des Schwungbeines unter bzw. knapp vor seinem KSP. Das aktive nach unten / hinten Herunterdrücken des Beines während der Flugphase führt dazu, dass der Fuß schon in der Laufbewegung aktiv aufsetzt.

Zum Zeitpunkt des Bodenfassens sind Ober- und Unterschenkel des Nachziehbeins noch leicht seitlich abgewinkelt, werden dann aber, um eine effektive Vorwärtsbewegung zu sichern, während des ersten Schritts hinter der Hürde schnellstmöglich in Laufrichtung gebracht.
Das in Laufrichtung aufgesetzte gestreckte Schwungbein ist Voraussetzung für eine optimal, geradlinige Bewegungsweiterführung und eine hohe KSP-Position. Die Länge des ersten Schrittes wird durch die Qualität des Aufsetzens des Schwungbeins entschieden. Wenn der Landedruck optimal überwunden werden konnte, kann der Schritt relativ groß ausfallen.
Der Landepunkt liegt bei qualifizierten Läufern ca. 1,20 m hinter der Hürde.
Das Knie des Nachziehbeins wird hoch mitgeführt (ca. Brusthöhe) um einen raumgreifenden, effektiven Sprintschritt zu gestalten. Der Rumpf bzw. Oberkörper befindet sich in leichter, für den Sprint üblicher Vorlage. Die Arme werden diagonal mitgeführt. Der Blick ist dabei immer noch auf das nächste Hindernis ausgerichtet, der Kopf steht in Verlängerung zur Wirbelsäule.

Schlussbemerkung:
Der Hürdenlauf wird allgemein als Sprint angesehen. Die zweckmäßigste Technik sucht daher möglichst nahe an den fürs Sprinten üblichen Bewegungsablauf heranzukommen. Keinesfalls stellt er einen Lauf mit drei Schritten und anschließendem Absprung dar, eher gleicht er einem Lauf mit Vier-Schritt-Einheiten, wobei die letzte Einheit etwas länger erfolgt (vgl. Nett, S. 49).
Literaturverzeichnis:
Bauersfeld, H. (1992). Grundlagen der Leichtathletik. Das Standardwerk für Ausbildung und Praxis. Berlin: Sportverlag.
Nett, T. (1961). Die Technik beim Hürdenlauf und Sprung. Berlin: Bartels & Wernitz.
Pankratz, P. (2004). Bewegungsanalyse des Hürdenlaufs. Pdf. 12.05.2014
(http://mediathek.bildung.hessen.de/material/sport/art/leichtathletik/Lehrprogramm_Hurdenlauf.pdf)
DSHS Köln, Institut für Motorik und Bewegungstechnik. Unterrichtsbegleitendes Skript, Disziplin: Hürden. Pdf. 12.05.2014
(https://www.dshs-koeln.de/imb/Individualsport/content/e40/e10480/e10515/e10528/e11634/SkriptHrden_ger.pdf)
Biomechanik
Die Biomechanik bezeichnet das Wirken von Kräften, Winkeln und anderen Faktoren im Bezug auf einen Bewegungsablauf, und gibt somit Rückschluss über die Bewegung selbst, und den Effektivitätsgrad der Ausführung. Grob kann man die Biomechanik in Bezug auf die Betrachtungsweise in die Kinematik und die Dynamik unterteilen. Unter diesen beiden Schwerpunkten soll der Hürdenlauf mit seinen vier Phasen, Amortisationsphase, Absprungphase, Flugphase und Landephase, untersucht werden, wobei in der Art der Gliederung nicht immer auf das Phasenschema eingegangen wird.
Kinematik
Betrachtet man den Hürdenlauf im Bezug auf die Kinematik genauer, so lassen sich hier vor allem verschiedene Winkel, in der jeweiligen Bewegungsphase, unterscheiden. Dies sind Folgende:
WU = Unterschenkelwinkel, Winkel zwischen der Verbindungslinie Fußgelenk/ Kniegelenk und der Horizontalen
WK = Kniewinkel
WH = Hüftwinkel
Weiter lassen sich diverse Größen und Betrachtungspunkte feststellen, wie:
L1 = Absprungentfernung von der Hürde
L2 = Landungsentfernung hinter der Hürde
KSP = Körperschwerpunkt

Aus folgenden gemessenen Winkeln lassen sich nun Rückschlüsse auf die Gesamtbewegung und deren Ablauf, in biomechanischer Betrachtung, ziehen.
Tab. 1: Diverse Winkel vor- und nach der Flugphase
Winkel | Einheit | Stützphase vor der Hürde | Stützphase vor der Hürde | Stützphase nach der Hürde | Stützphase nach der Hürde |
WU | Grad | 102 | 58 | 92 | 49 |
WK | Grad | 148 | 162 | 164 | 161 |
WH | Grad | 161 | 173 | 136 | 181 |
(nach Ballreich & Kuhlow, 1986, S.26)
WU
Der Winkel WU verkleinert sich zunächst mit dem Fortschreiten der Stützphase vor der Hürde. Dies bedeutet, dass der Athlet eine zunehmende Neigung des Unterschenkels zur Lauffläche aufweist. Es wird also kein gerader senkrechter Sprung vollzogen, sondern ein weit nach vorne reichendes Laufen zur Hürde hin angestrebt. Bei der Stützphase nach der Hürde ist der Winkel zunächst wieder etwas größer (liegt um die 90°) als am Ende der Stützphase vor der Hürde, wird aber, im Übergang auf eine weitere Beschleunigung zur nächsten Hürde, im Zuge einer Beugung und Verlagerung des KSP nach vorne, wieder verringert.
WK
Der Winkel des Knies, WK, hingegen vergrößert sich in der Phase vor der Hürdenüberquerung mit Annäherung an die Hürde stetig. Dies ist mit der Streckung des Kniegelenks des Abdruckbeines (später: Nachziehbein) zu begründen, welches durch diese Streckung eine Beschleunigung und Verschiebung des KSP in vertikal-horizontaler Richtung bewirkt. Nach der Landung ist dieser Winkel nur minimal verringert, da das Knie aus der Landungsbewegung heraus, in den weiteren Bewegungsablauf in fast selbem Winkel weitergeführt wird.
Es ist hierbei jedoch anzumerken, dass dieser Winkel keinerlei Bezug zur Fußstellung hat. Denn der Fußaufsatz nach der Hürde ist aktiv, was bedeutet, dass die Ferse keinerlei Kontakt zum Boden hat. Dies gewährleistet dem Hüdenläufer einen möglichst hohen Kraft- und Schwungerhalt bei der Landung, und somit ein schnelles Umstellen in die nun benötigte sprinttypische Position.
WH
Der dritte Winkel, welcher betrachtet wurde, WH , erfährt vor der Hürdenüberquerung eine stetig anhaltende Vergrößerung, was in der zunehmenden Hüftstreckung, und dem damit verbundenen Anheben des KSP in der vertikalen Ebene, vor der Überquerung begründet liegt. Während- und nach der Hürdenüberquerung ist er, bedingt durch die Oberkörpervorlage, stark verkleinert, wird aber, indem sich der Athlet zur nächsten Beschleunigungsphase wieder aufrichtet, schnell wieder vergrößert bzw. geöffnet.
L1 und L2
In den Längen L1 und L2 lässt sich die Bewegung des Athleten, bzw. der jeweilige Abstand zur Hüde, und somit auch die des KSP in horizontaler Richtung ablesen. Dieser Abstand von 2/3 vor- und 1/3 nach der Hürde, ermöglicht dem Athleten eine optimale Überquerung der Hüde.
KSP
Zum Körperschwerpunkt ist zu sagen, dass dieser sich in einer vertikal leicht steigenden Bahn in horizontaler Richtung nach vorne verschiebt. Starke Anstiege des KSP in vertikaler Richtung jedoch sind zu vermeiden, da diese, durch die längere Flugphase, zu großen Energie- und Zeitverlusten, beim Hürdenlauf, führen.
Nachdem die Hürdenüberquerung jetzt in kinematischer Sicht behandelt wurde, soll nun auch die Komponente der Dynamik, im Bezug auf die Bodenreaktionskräfte, betrachtet werden.
Dynamik
Der Abdruck vor der Hürde beeinflusst entscheidend wie schnell der Athlet diese Hürde überwinden kann. Hierbei ist es wichtig, den optimalen Impuls zu setzen, um eine, der Situation, perfekt angepasste Flugkurve zu erreichen. Diese sollte weder zu hoch, noch zu flach sein.

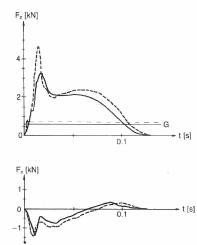
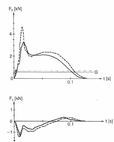
Betrachtet man die Abbildung 2, so kann man die beiden Skizzen mit den Kräften FX und FZ unterscheiden. Erstere bezieht sich hierbei auf die horizontalen Bodenreaktionskräfte, wohingegen FZ diese in der Vertikalen betitelt. Weiter beschreiben die Linien einmal relativ optimale Verhältnisse (durchgezogene Linie) und zum anderen ungünstige Verhältnisse der Hürdenüberquerung (gestrichelte Linie).
Vergleich in Vertikaler Richtung (FZ)
Vergleicht man die dargestellten Werte der beiden Läufer (gestrichelt Läufer A, durchgeziogen Läufer B) so lässt sich im Bezug auf die vertikale Kraft (FZ) feststellen, dass Läufer A's Kurve einen höheren positiven Ausschlag zeigt, was eine höhere Kraftaufwendung, bzw. einen stärkeren Abdruck vor der Hürde bedeutet. Ist der Kraftaufwand in vertikaler Richtung zu groß, so verändert sich die Flugkurve insofern, dass eine ungünstig steile Kurve erreicht wird. Dies bedeutet, dass der Läufer einen Hürdenlauf absolviert, welcher „[…] mit einer unnötig hohen Flugparabel und längerer Flugdauer verbunden sein kann.“ (Ballreich und Kuhlow, 1986, S.27). Dieser übermäßig hohe Kraftaufwand hat somit Kraft und Zeitverlust zur Folge, was in einem Wettkampf mitunter die entscheidendsten Faktoren über Sieg oder Niederlage sind.
Vergleich in horizontaler Richtung (FX)
Betrachtet man die horizontalen Kräfte, so zeigt sich ein ähnliches Bild. Bei dem Läufer B steigt die Kurve sehr viel schneller, als bei A, wieder in das positive Niveau auf, was bedeutet, dass „[…] Über eine längere Zeit größere Kräfte entgegen der Bewegungsrichtung und über eine kürzere Zeit geringere Kräfte in Laufrichtung [Anm. d. Verf. wirken] was […] zu einer größeren Geschwindigkeitsreduktion führt;“ (Ballreich & Kuhlow, 1986, S. 27) Somit verliert Läufer A auch hier wieder wertvolle Zeit.
Dies zeigt, dass die Biomechanik beim Hürdenlauf von entscheidender Bedeutung ist. Nutzt man sowohl die vertikalen als auch die horizontalen Bodenreaktionskräfte optimal aus, so erreicht man eine sehr gute Kraft- Nutzen Statistik. Da der Hürdenlauf bereits in jeweils einer Kategorie der Kinematik und der Dynamik betrachtet wurde, sollen nun auch die biomechanischen Prinzipien auf den Ablauf der Hürdenüberquerung angewandt werden.
Biomechanische Prinzipien im Hürdenlauf - kurz und prägnant
Das Prinzip der Gegenwirkung
Begonnen werden soll mit dem Prinzip der Gegenwirkung, da dies bereits oben schon einmal kurz angesprochen wurde. In der Flugphase wird eine Gegenbewegung im Sinne des actio-reactio Verhaltes erzeugt, indem durch die Bewegung des Gegenarmes (des Schwungbeines) nach hinten, ein Führen des Nachziehbeines nach seitlich- vorne über die Hürde initiiert wird.

Das Prinzip der Impulserhaltung
Weiter kann man das Prinzip der Impulserhaltung betrachten. Hierbei handelt es sich um die Fähigkeit, einen Impuls, welcher gegeben wurde möglichst lange zu erhalten. Beim Hürdenlauf kann hierbei, beispielhaft, der Impuls am Ende der Stützphase, vor der Hürde, genannt werden. Nach dem Abdruck vor der Hürde, und einer damit verbundenen Beschleunigung des KSP auf horizontaler aber auch vertikaler Ebene, soll dieser Impuls bis zur Landung erhalten bleiben. Tut er das nicht, sprich reicht der Anfangsimpuls nicht aus, und sinkt der KSP somit zu tief bzw. dauert die Flugphase zu kurz, stürzt der Athlet und reißt die Hürde.
Das Prinzip des optimalen Beschleunigungsweges
Das Prinzip des optimalen Beschleunigungsweges bezieht sich im Hürdenlauf darauf, nicht mit maximaler Geschwindigkeit anzulaufen, sondern mit der für die Situation angemessenen maximalen Geschwindigkeit. Denn man muss die Koordination der Hürdenüberquerung mit der Sprintfähigkeit kombinieren, um ein optimales Ergebnis zu erzielen.
Das Prinzip der optimalen Koordination von Teilimpulsen
Wie gerade erwähnt, spielt auch die Koordination, und somit auch das Prinzip der optimalen Koordination von Teilimpulsen, im Hürdenlauf eine große Rolle. Dies bedeutet, dass Impulse zum richtigen Moment gesetzt werden sollen, und keinesfalls, wenn der vorherige Impuls sein Maxima noch nicht erreicht hat. Auch die Bewegungsimpulse bei der Überquerung der Hürde, also etwa das Klappen des Oberkörpers, müssen mit den anderen Impulsen als Bewegungsablauf und – Gefüge funktionieren.
Resümee
Ingesamt betrachtet spielen beim Hürdenlauf folgende wichtige Komponenten eine tragende Rolle.
Der Körperschwerpunkt sollte möglichst flach und in einer kurzen Flugphase (da in dieser keine Beschleunigung stattfinden kann) über die Hürde gelangen. Die Faktoren, welche dies begünstigen wurden oben bereits genannt.
Weiter muss ein Hürdenläufer eine gut ausgeprägte Koordination besitzen, denn er muss in der Lage sein, viele verschiedene Bewegungsabläufe und Impulse in einer sehr kurzen Zeit verarbeiten und ausführen zu können.
Letztendlich sind ein aktiver und optimaler (Kraftdosierung) Abdruck, eine aktive und kraftvolle Klappbewegung des Oberkörpers nach vorne, sowie anschließend ein aktiver Fußaufsatz mit dem Fußballen und eine schnelle Aufrichtung des Körpers um möglichst zügig wieder in eine Beschleunigung starten zu können, entscheidend.
Quellenangaben:
Ballreich, Rainer & Kuhlow, Angela (Hrsg.). (1986).Biomechanik der Sportarten Band 1. Biomechanik in der Leichtathletik. Stuttgart: Enke Verlag.
www.sport-mainz.de/downloads/skriptla0304.pdf (letzter Zugriff: 05.07.2014, 15:40)
Last edited: 4. Δεκ 2014, 13:59, [lehner24]